Samsung Display, ett dotterbolag till Samsung Electronics, ställer ofta ut koncept på mässor som bland annat Consumer Electronics Show (CES) och Mobile World Congress (MWC). Displaytillverkaren använde t.ex. MWC 2025 för att presentera olika innovationer, bl.a Flex-spel och Flexibel portfölj.
Vanligtvis förblir dessa koncept just det och når aldrig massproduktion. Det verkade dock som att Samsung Display också använde MWC 2025 för att visa upp de vikbara paneler som kommer att ligga till grund för Samsungs första tri-fold för konsumenter och efterträdaren till Galaxy Z Fold6 (för närvarande 1 099 $ - förnyas på Amazon).
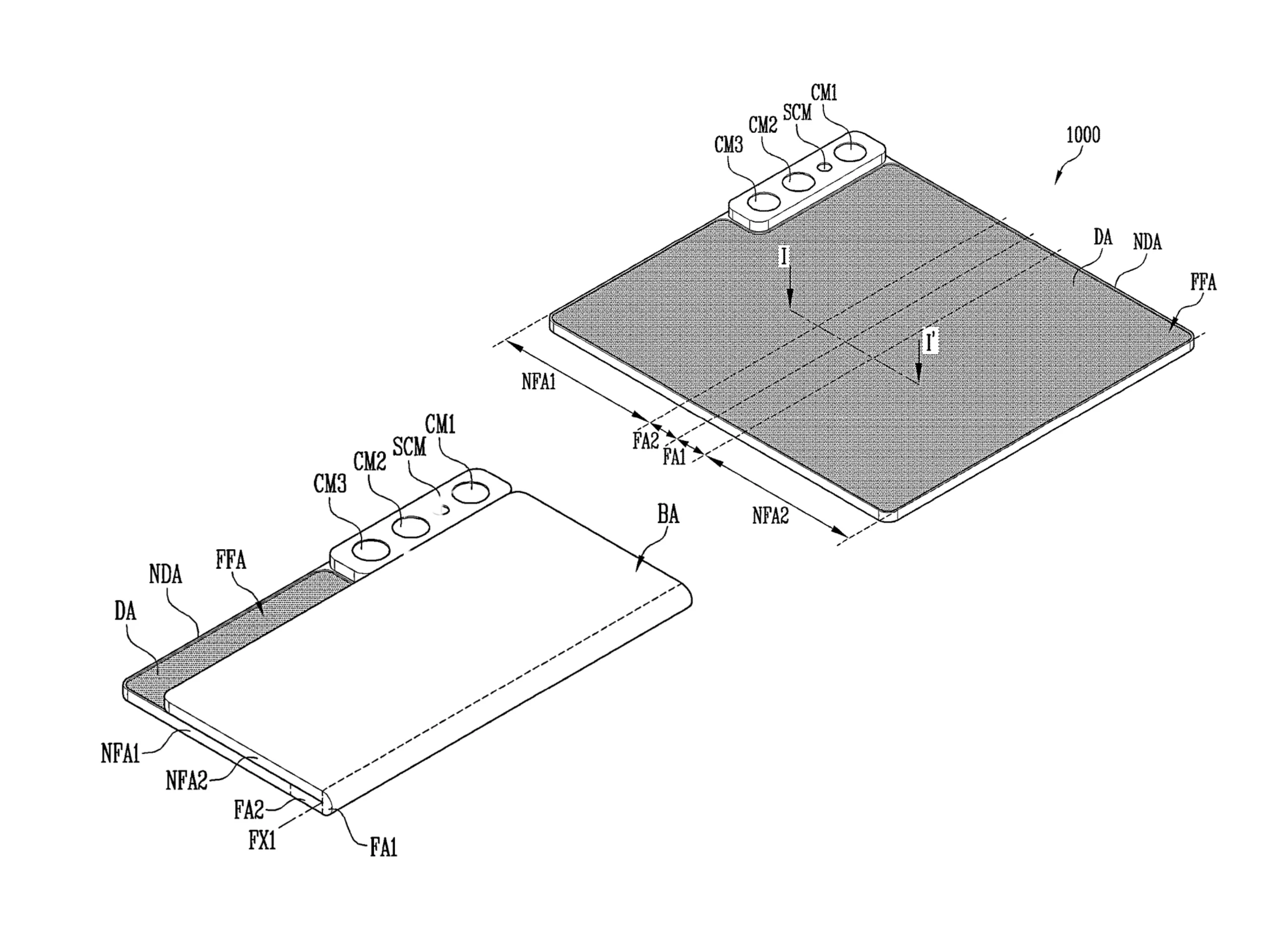
Nu har företaget fått designgodkännande från United States Patent & Trademark Office (USPTO) för en helt ny vikbar formfaktor. Som patentritningarna nedan visar kan detta koncept vika sin skärm både inåt och utåt, istället för bara åt ett håll som befintliga vikbara konsumentdatorer. I själva verket kombinerar konceptet principerna för Galaxy Z Fold och Huawei Mate Xs eller Mate Xs 2 till en och samma enhet.
Den patenterade designen skiljer sig från Flex In N Out som Samsung Display visade upp under CES 2023 för över två år sedan. För att sammanfatta, Flex In N Out såg ut som en vanlig vikbar enhet som kunde vikas inåt och utåt. Däremot lämnar Samsung Displays nya koncept en del av sin skärm exponerad under sin föreställda trippelkamerauppsättning. Även om chanserna för att denna design kommer att förverkligas är små, kan vi så småningom se Samsung Display visa upp ett verkligt exempel på en framtida mässa, precis som det gjorde tidigare i år med Flex Gaming.
Topp 10...
» Topp 10: Bästa bärbara allround/multimediadatorerna
» Topp 10: Bästa bärbara speldatorerna
» Topp 10: Bärbara budget/kontorsdatorer
» Topp 10: Bästa bärbara kontors/premiumdatorerna
» Topp 10: Bärbara arbetsstationer
» Topp 10: De bästa små/kompakta bärbara datorerna
» Topp 10: Bästa ultrabooks
» Topp 10: Bästa hybriddatorerna
» Topp 10: Bästa surfplattorna
» Topp 10: Marknadens bästa smartphones
















