Historiskt sett har Garmin erbjudit varianter av sina utomhusfokuserade smartklockor med solladdningsfunktioner som teoretiskt sett erbjuder oändlig batteritid. I praktiken levererar Instinct 3 Solar och Fenix 7 Pro Solar ( för närvarande $ 449 på Amazon) mellan tre och fem veckors batterivärde vardera beroende på hur mycket solljus de utsätts för dagligen.
Hittills har Garmin endast erbjudit solcellsladdning med smartklockor som också har Memory in Pixel (MiP) -skärmar. Som ett resultat missar Fenix 8 Solar och Tactix 8 Solar den mer livfulla AMOLED-paneltekniken som finns i Fenix E och den vanliga Fenix 8. Under tiden finns inga Solar-versioner av Fenix 8 Pro ännu, med Garmin som begränsar sina senaste Pro-märkta smartklockor till AMOLED- och microLED-skärmar.
Topp 10...
» Topp 10: Bästa bärbara allround/multimediadatorerna
» Topp 10: Bästa bärbara speldatorerna
» Topp 10: Bärbara budget/kontorsdatorer
» Topp 10: Bästa bärbara kontors/premiumdatorerna
» Topp 10: Bärbara arbetsstationer
» Topp 10: De bästa små/kompakta bärbara datorerna
» Topp 10: Bästa ultrabooks
» Topp 10: Bästa hybriddatorerna
» Topp 10: Bästa surfplattorna
» Topp 10: Marknadens bästa smartphones
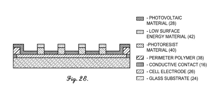
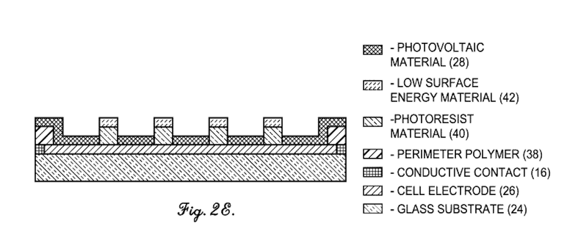
En nyligen publicerad patentpublikation visar dock att Garmin hoppas kunna ändra denna nuvarande begränsning genom att omarbeta sin solcellsimplementering. Patentet är inlämnat till United States Patent and Trademark Office (USPTO) som US 2025/0359354 A1beskriver patentet en halvgenomskinlig solcell som inte skulle äventyra AMOLED-panelens synlighet.
Följaktligen spekulerar sådana som Gadgets & Wearables spekulerar därför i att Garmin arbetar för att släppa avancerade smartklockor med AMOLED-skärmar och solcellsladdningsfunktioner. USPTO beviljade detta patent först den 20 november. Därför misstänker vi att Garmin är några år från att massproducera denna teknik om de ens väljer att göra det. Med det sagt skulle vi inte förvänta oss att se Fenix 9 Pro smartklockor anlända innan 2027 rullar runt.

















