I ett nytt patent som upptäckts av tech4gamers.com uttrycker AMD sin oro över bandbreddsgränserna för DDR5-standarden, särskilt nu med den ständigt ökande efterfrågan på AI-beräkningskraft. Medan Nvidia och tillverkare av minneschip som Samsung, SK Hynix och Micron fokuserar på SOCAMM2 standard, föreslår AMD ett alternativ som skulle vara enklare att implementera i befintliga DDR5-system, oavsett om det gäller konsument- eller datacenterlösningar.
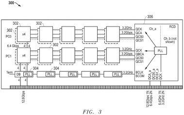
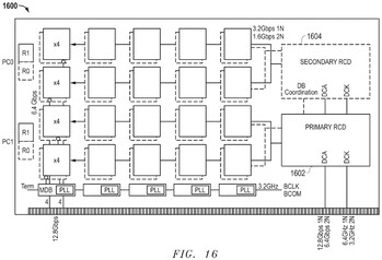
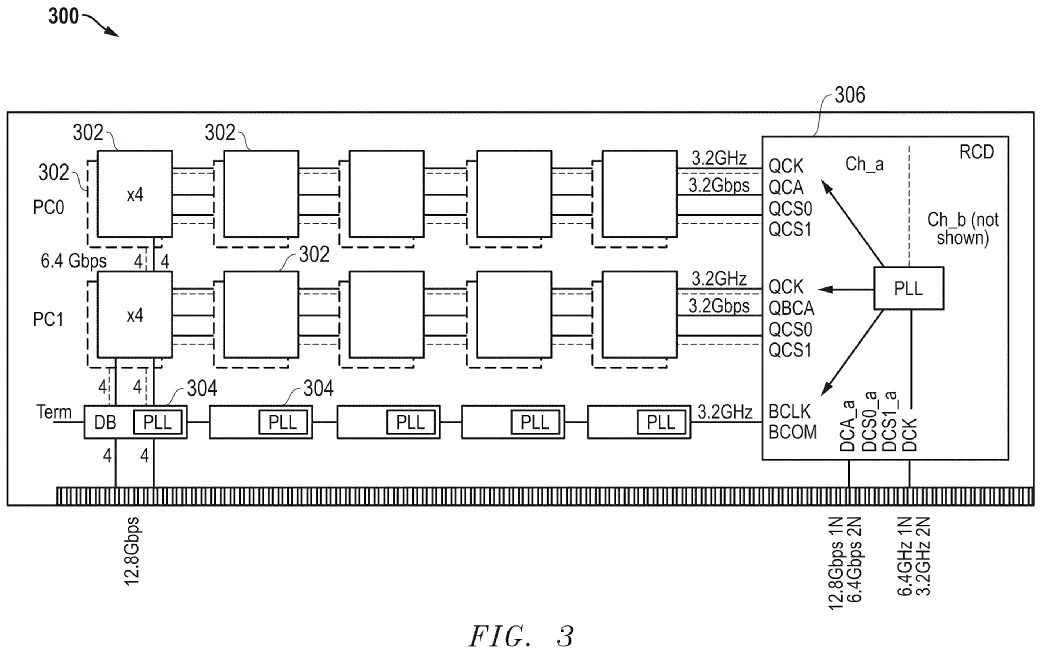
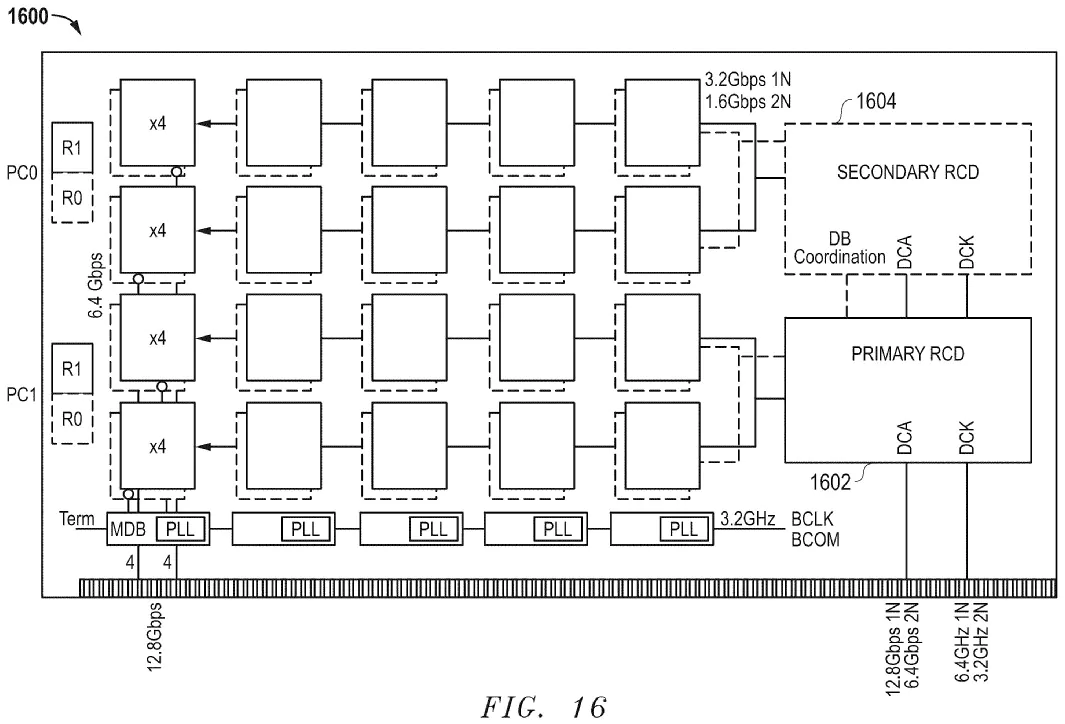
AMD:s förbättrade minnesstandard innebär "en minnesmodularkitektur med hög bandbredd" som i princip fördubblar den nuvarande maximala DDR5-bandbredden på 6,4 Gbps. Det är viktigt att notera att bandbredden på 12,8 Gbps uppnås utan att modifiera designen på DRAM-chipen. Istället placeras DRAM-chipen på en HB-DIMM-modul (dual in-line memory module) med hög bandbredd. Modulerna innehåller också en rad ytterligare hårdvarukomponenter, t.ex. speciella buffertchip som möjliggör dataöverföringar dubbelt så snabbt som DDR5-standarden skulle tillåta. Dessutom använder sig modulen av register clock drivers (RCDs) som dirigerar signaler mer effektivt, parallelliserar minnesåtkomst och därmed bryter DDR5-standardens gränser för genomströmning.
I patentansökan noteras att HB-DIMM:erna möjliggör snabb växling mellan pseudokanal- och quad-rank-lägen, vilket gör lösningen användbar för HPC, AI-användningsfall samt spelsystem. DDR5-kompatibilitet säkerställs med hjälp av flexibla klocklägen och ett icke-interleaved dataöverföringsformat som upprätthåller signalintegritet och låg latens.
Det ser ut som om HB-DIMM är mycket lik den befintliga MRDIMM-standarden (Multiplexed Rank Dual Inline Memory Modules) från Micron. MRDIMM är dock endast tillgänglig för Intels Xeon Granite Rapids-plattform, så AMD vill förmodligen ha något liknande för framtida EPYC-processorer. Phoronix publicerade nyligen ett DDR5-6400 vs MRDIMM-8800 test och Microns egenutvecklade standard verkar vara snabbare, men absolut inte dubbelt så snabb som DDR5.
SOCAMM2 har för närvarande mer stöd från industrin, så AMD:s HB-DIMM kan få svårt att få genomslag, åtminstone när det gäller HPC- och serversektorerna.
Källa(n)
via Techradar / Tech4Gamers / OC3D.net
Topp 10...
» Topp 10: Bästa bärbara allround/multimediadatorerna
» Topp 10: Bästa bärbara speldatorerna
» Topp 10: Bärbara budget/kontorsdatorer
» Topp 10: Bästa bärbara kontors/premiumdatorerna
» Topp 10: Bärbara arbetsstationer
» Topp 10: De bästa små/kompakta bärbara datorerna
» Topp 10: Bästa ultrabooks
» Topp 10: Bästa hybriddatorerna
» Topp 10: Bästa surfplattorna
» Topp 10: Marknadens bästa smartphones







