Nu när CMF Phone 2 Pro lanseras med externa objektivtillbehör ser det ut som om Samsung har eller har haft något liknande på gång. En nyligen rapporterad upptäckt av ett Samsung-patent visar en modulär telefondesign med stöd för utbytbara tillbehör, särskilt linser. Patentet visar fyra huvudkomponenter som teoretiskt sett skulle göra det möjligt för användare att fästa olika linser på telefonens interna kamerasystem.
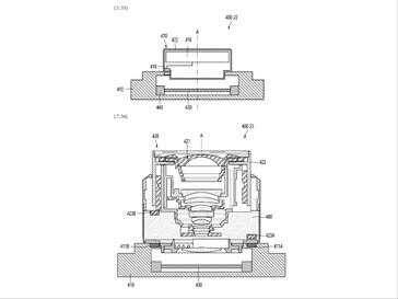
Upptäckt av 91mobilespatentet var inlämnad till WIPO av Samsung Electronics förra året och publicerades den 24 april i år. Det innehåller ritningar av en typisk flaggskeppstelefon från Samsung med ett yttre fyrkantigt hölje som sitter ovanpå kamerorna. Det finns fyra komponenter som nämns i patentet: ett kamerahus, en lins, en bildsensor och en motor eller ett ställdon.
Enhetshöljet är det fyrkantiga tillbehöret som verkar hålla alla komponenter. Linsaggregatet är de utbytbara linserna som fästs på huset och bildsensorn fångar upp data från linserna. Motorn eller ställdonet är det som sannolikt kommer att möjliggöra fokus- och zoomfunktioner genom att flytta linsaggregatet eller sensorn.
Topp 10...
» Topp 10: Bästa bärbara allround/multimediadatorerna
» Topp 10: Bästa bärbara speldatorerna
» Topp 10: Bärbara budget/kontorsdatorer
» Topp 10: Bästa bärbara kontors/premiumdatorerna
» Topp 10: Bärbara arbetsstationer
» Topp 10: De bästa små/kompakta bärbara datorerna
» Topp 10: Bästa ultrabooks
» Topp 10: Bästa hybriddatorerna
» Topp 10: Bästa surfplattorna
» Topp 10: Marknadens bästa smartphones
Rapporten nämner att enheten kommer att behöva identifiera vilken lins som är ansluten och det kan eventuellt göras med hjälp av magneter, RFID-taggar eller motstånd. Detta skulle göra det möjligt för enheten att justera olika inställningar i kameraappen. Det tillägger att detta hölje kan stödja andra tillbehör som blixt, batteri, en extra skärm och mer.
Det bör noteras att detta är koncept och det är svårt att säga om de någonsin kommer att komma ut på marknaden. Men med CMF Phone 2 Pro och dess implementering av utbytbara linserskulle det inte vara en överraskning om fler företag börjar ta med sådan modularitet. Phone 2 Pro har ett separat fäste på baksidan som gör det möjligt att fästa olika linser.

















